



ZZC自力式差压调节阀是一种无需外来能源的节能型产品,利用工艺管道中介质的压力变化与信号进行比较,使被调节介质的力与执行机构的输出力平衡,以达到稳定压力、差压值。 ZZCP-1型差压阀,采用平衡型单座阀,压力稳定、精度高、密封性好,用于控制微小差压。ZZCN-10型差压阀采用双座阀,流量系数大,将阀芯正、倒装,可组成二个不同品种的调节阀产品。该产品适用于各种工业炉燃烧系统控制两种燃料气体混合比流量或用于氢冷发电机组密封油系统中,同时,还可用于各种工业气体的减压、稳压或泄压的自动控制。


ZZVP型自力式微压调节阀,采用平衡单座阀,在运行中可任意对设定值进行调整等特点。因而适用于各种工业炉燃烧统燃料气体、石油在制品或油库贮罐保护气体与热处理保护气体的微压自动调节等场合。
自力式微压调节阀
|
|
|
自力式微压调节阀 | 自力式微压调节阀结构图 |
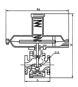
自力式差压调节阀
|
|
|
| 自力式差压调节阀 | 自力式差压调节阀结构图 |
主零件材料
| 材料代号 | C(WCB) | P(304) | R(316) | |
|---|---|---|---|---|
| 主要 零件 | 阀体、阀盖 | WCB(ZG230-450) | ZG1Cr18Ni9Ti(304) | ZG1Cr18Ni12Mo2Ti(316) |
| 阀芯、阀座 | 1Cr18Ni9Ti(304) | 1Cr18Ni9Ti(304) | 1Cr18Ni12Mo2Ti(316) | |
| 阀杆 | 2Cr13 | 1Cr18Ni9Ti | 1Cr18Ni12Mo2Ti | |
| 填料 | V型聚四氟乙烯(F4)、柔性石墨、 | |||
| 垫片 | 增强聚四氟乙烯(F4) 、不锈钢垫片、金属石墨缠绕垫片 | |||
| 上下膜盖 | A3钢板冲压 | |||
| 波纹膜片 | 丁晴橡胶、耐油橡胶、氟橡胶 | |||
| 弹簧 | 60Si2Mn | |||
| 波纹管 | 1Cr18Ni9Ti | |||
性能指标
| 公称通径DN(mm) | 20 | 25 | 32 | 40 | 50 | 65 | 80 | 100 | |
|---|---|---|---|---|---|---|---|---|---|
| 额定流量(KV) | 单座(P) | 8 | 11 | 20 | 32 | 50 | 80 | 100 | 160 |
| 双座(N) | ─ | ─ | ─ | ─ | 50 | 83 | ─ | ─ | |
| 额定行程(mm) | 6 | 8 | 10 | 15 | 20 | ||||
| 调节精度(%) | ±10 | ||||||||
| 公称压力PN(MPa) | ZZC | 0.10 1.0 | |||||||
| ZZV | 0.10 | ||||||||
| 介质温度(℃) | ≤80 | ||||||||
| 允许泄漏量(L/h) | 单座(P) | 10-4×阀额定容量 | |||||||
| 双座(N) | 103×阀额定容量 | ||||||||
| 压力调节范围(Kpa) | 0.5~5.5、5~10、9~14、13~19、18~24、22~28、26~33、31~38、36~44、41~51、49~58、56~66、64~78、76~90、76~90 | ||||||||

| 公称通径DN | 20 | 25 | 32 | 40 | 50 | 65 | 80 | 100 | 150 | |
|---|---|---|---|---|---|---|---|---|---|---|
| φA | 308 | 394 | 308 | 394 | 308 | 394 | 394 | 394 | 394 | |
| ZZV | H | 378 | 460 | 370 | 445 | 460 | 490 | 490 | 510 | 720- |
| L | 150 | 160 | 180 | 200 | 230 | 290 | 310 | 350 | 480 | |
| ZZC | H | 378 | 465 | 365 | 445 | 455 | 490 | 490 | 510 | ─ |
| L | 150 | 160 | 180 | 200 | 230 222 | 290 220 | 310 | 350 | ─ | |
| 重量kg | 12 | 13 | 15 | 17 | 20 | 28 | 38 | 45 | 56 | |
| 信号接头螺纹 | M16×1.5 | |||||||||

dgfmjt@163.com

021-66861950

上海市金山区亭林镇亭朱公路1918号